苹果新头显专利获批:分离光学组件,探索多人游戏对战等创新玩法
2025-03-12 15:46:03 小编:蜜桃手游网
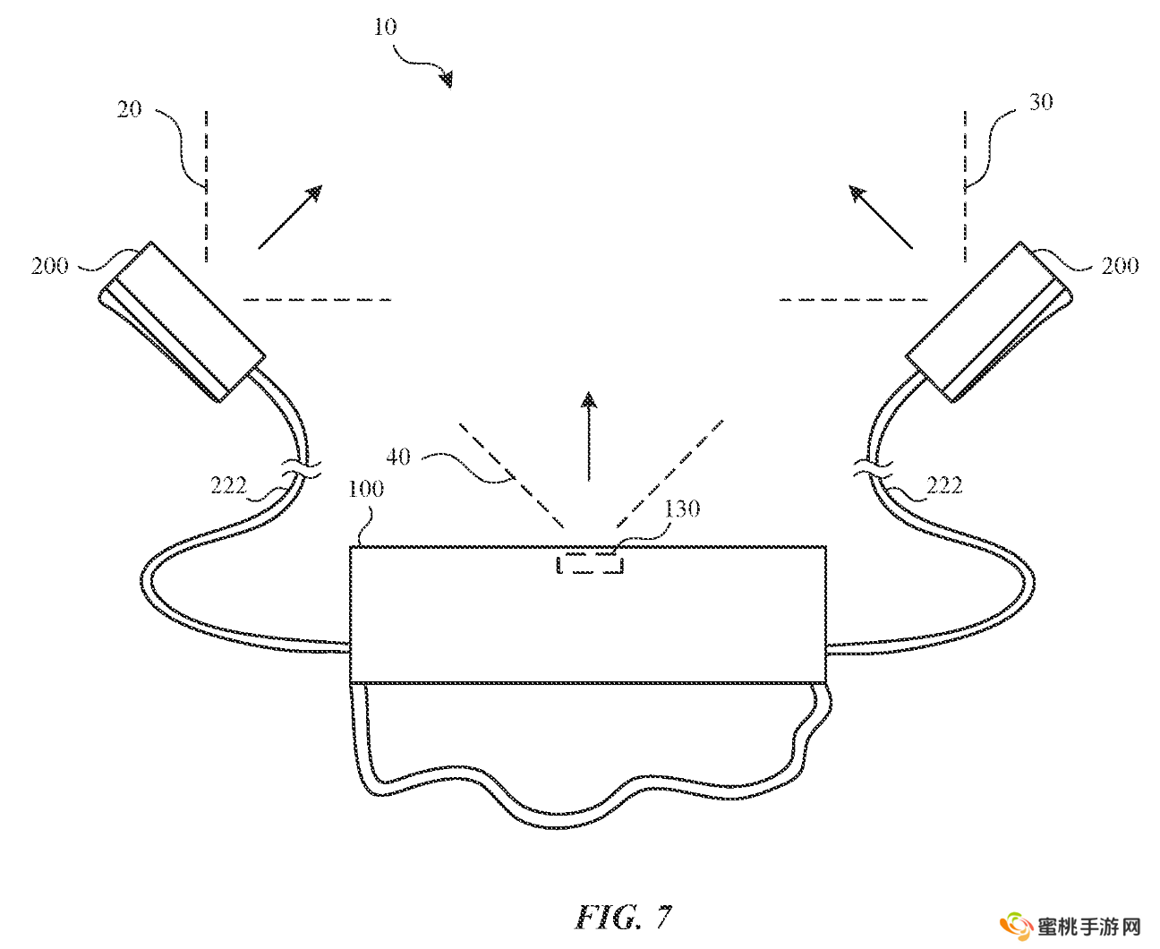
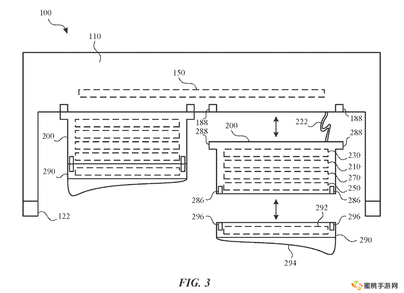
本站 3 月 12 日消息,科技媒体 patentlyapple 昨日(3 月 11 日)发布博文,报道称苹果公司获批一项头显相关专利,描述了一种分离式头显系统,意味着两名用户佩戴头显,可以共享画面内容。
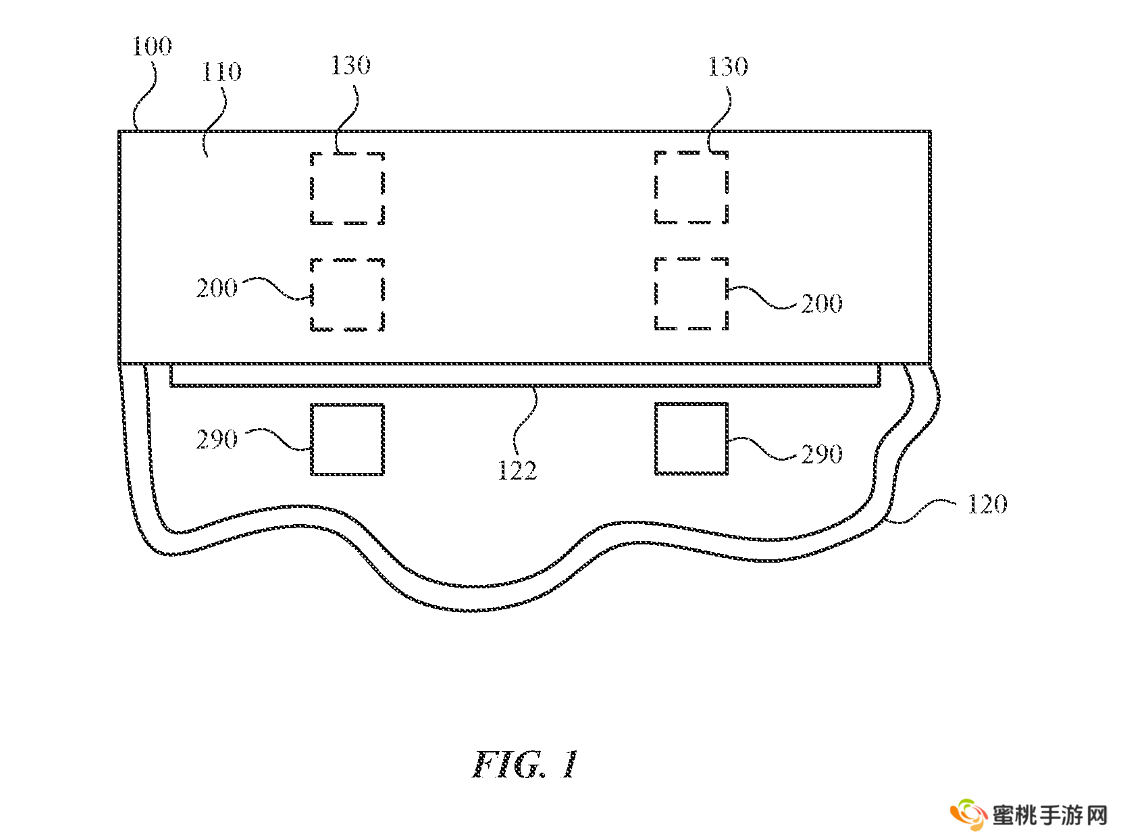
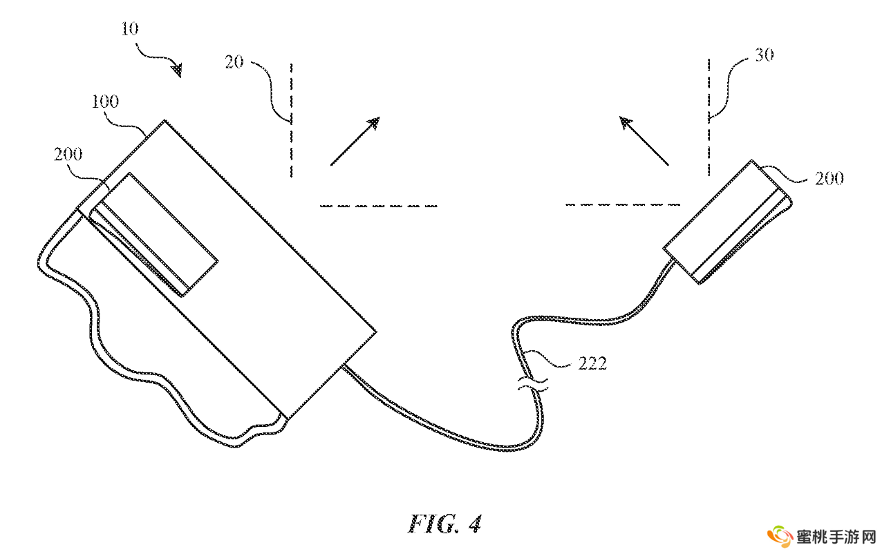
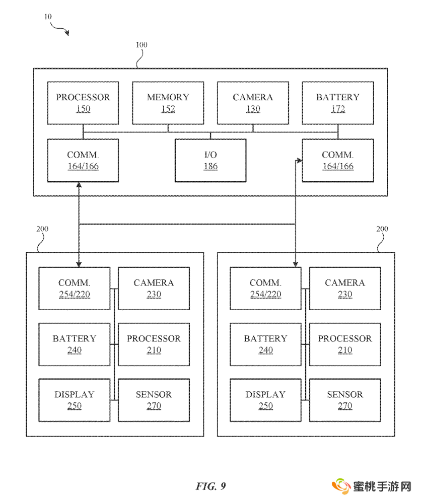
本站援引博文介绍,该专利的核心在于从头显中分离光学组件,并通过通信链路与设备保持连接。这种连接可以是直接的物理连接,也可以是无线连接。分离后的光学组件可由另一用户独立操作,同时仍能接收来自头戴设备的内容。





专利技术还涉及分配任务负载,部分内容可以在头显上生成后,传输到分离的光学组件上进行输出,这种方式减少了生成和适配内容的负担,同时允许不同用户通过各自的显示组件参与共享体验。
- 猜你喜欢
-
橘子视频app去广告版9.9MB蜜桃下载 -
51糖心app9.9MB蜜桃下载 -
特狗影视app苹果版9.9MB蜜桃下载 -
河马剧场短剧9.9MB蜜桃下载 -
植物大战僵尸融合版下载最新版本260.27MB蜜桃下载 -
好好看9.9MB蜜桃下载 -
坚果云扫描app9.9MB蜜桃下载 -
地狱之窟游戏手机版9.9MB蜜桃下载 -
疯狂木偶人201.25MB蜜桃下载
- 相关手机游戏
-
追剧屋9.9MB蜜桃下载 -
极品飞车11街道争霸电脑版 免安装版9.9MB蜜桃下载 -
死神勇敢的灵魂国际版157.09MB蜜桃下载 -
影猫电影9.9MB蜜桃下载 -
梅露可物语愈术士与铃之旋律手游9.9MB蜜桃下载 -
仙凡幻想564.93MB蜜桃下载 -
可可影视TV9.9MB蜜桃下载 -
倩女幽魂之鬼寺繁体中文版 免安装绿色版9.9MB蜜桃下载 -
土豆兄弟官方正版264.53MB蜜桃下载
- 推荐蜜桃资讯
- 最新手机精选
-
奥特曼格斗进化0无限能量2025-03-21蜜桃下载 | 253.6MB -
超凡先锋国际服2025-04-03蜜桃下载 | 96.46MB -
qq轻聊版官方2025最新版(qqlite)2025-03-20蜜桃下载 | 9.9MB -
异星之地2025-02-27蜜桃下载 | 405.6MB -
进化吧皮卡丘小米游戏2025-04-03蜜桃下载 | 76.59M -
inZOI韩国版模拟人生2025-04-03蜜桃下载 | 10.10M



































