苹果专利探索 AR / VR 头显未来:超声波 + 成像,精准追踪视线
2025-03-12 15:03:32 小编:蜜桃手游网
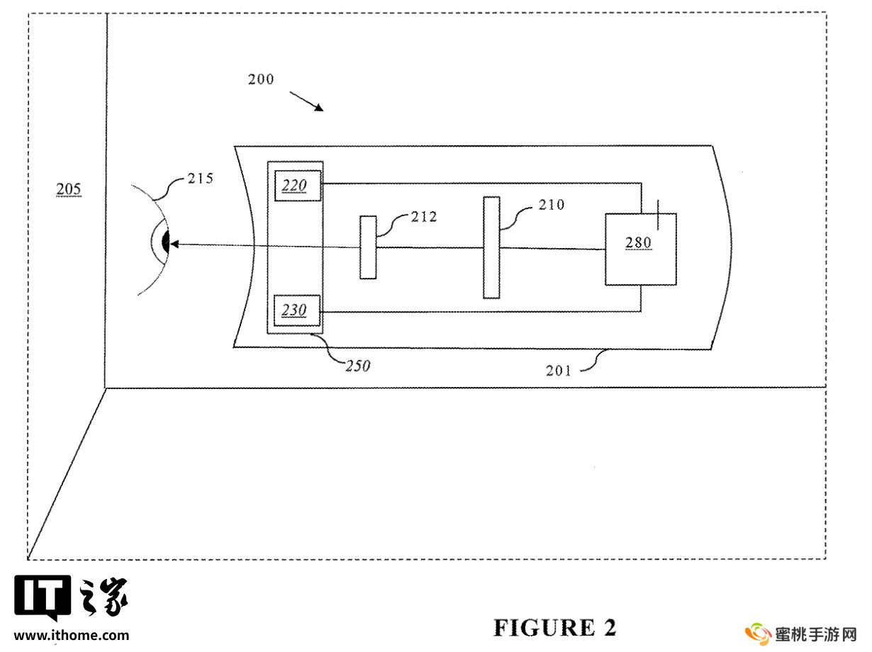
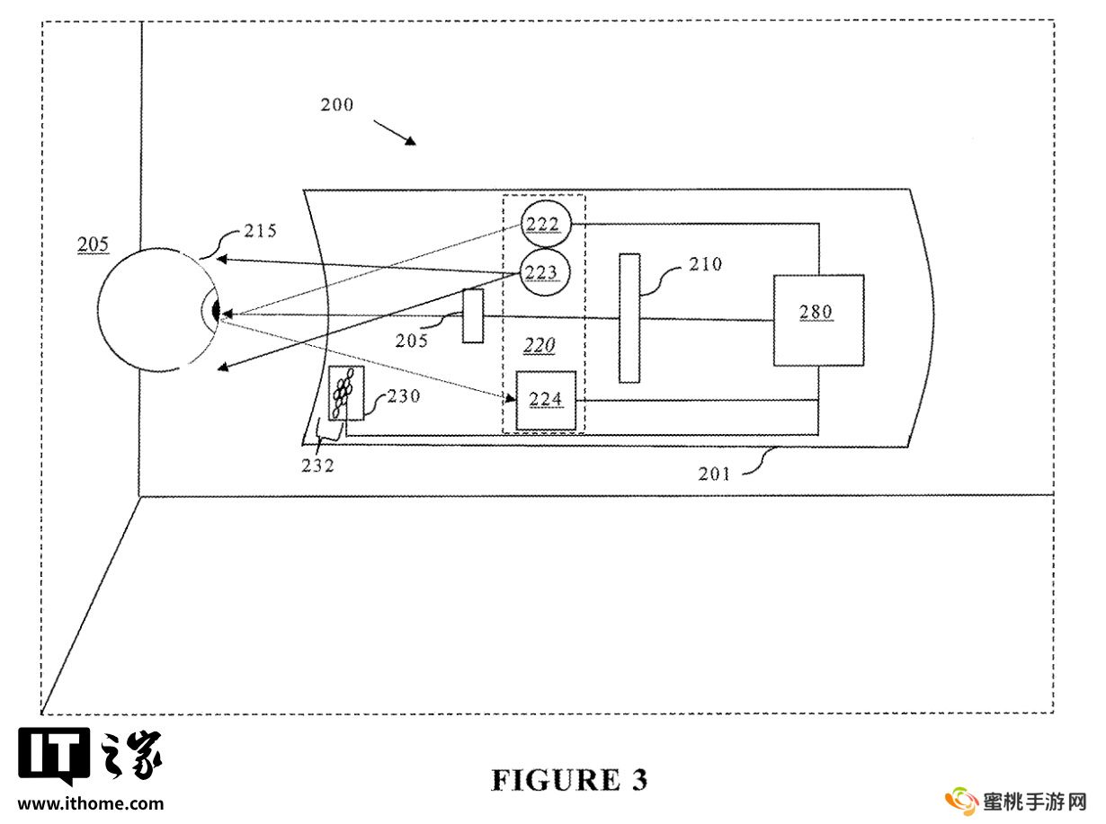
本站 3 月 12 日消息,科技媒体 patentlyapple 昨日(3 月 11 日)发布博文,报道称苹果公司获批新专利,涉及未来 Vision 系列头显(HMD)的混合视线追踪系统。
该系统结合超声波与成像数据,能够更精准地追踪用户视线方向,并提升用户身份验证的准确性。这一技术有望为增强现实(AR)和虚拟现实(VR)设备带来更流畅的交互体验。

本站援引博文介绍,该系统结合光基测量和超声波测量,获取眼睛的三维坐标信息。光基测量数据受温度、气压和气流影响较小,而超声波数据则对杂散光不敏感,两者结合可有效应对环境干扰。
系统首先通过光基测量检测眼睛的第一属性,并基于深度信息确定其在三维坐标系中的位置;接下来通过超声波测量获取眼睛的第二属性,并结合三维眼部模型确定其位置;最终,基于这两个位置信息,系统计算出用户在三维坐标系中的视线方向。


系统结合超声波生物特征与成像生物特征,进一步提升用户身份验证的准确性和安全性。该技术不仅适用于苹果未来的 Vision 系列设备,还可广泛应用于 AR / VR 领域,为用户提供更自然、精准的交互体验。
- 猜你喜欢
-
橘子视频app去广告版9.9MB蜜桃下载 -
51糖心app9.9MB蜜桃下载 -
特狗影视app苹果版9.9MB蜜桃下载 -
河马剧场短剧9.9MB蜜桃下载 -
植物大战僵尸融合版下载最新版本260.27MB蜜桃下载 -
好好看9.9MB蜜桃下载 -
坚果云扫描app9.9MB蜜桃下载 -
地狱之窟游戏手机版9.9MB蜜桃下载 -
疯狂木偶人201.25MB蜜桃下载
- 相关手机游戏
-
追剧屋9.9MB蜜桃下载 -
极品飞车11街道争霸电脑版 免安装版9.9MB蜜桃下载 -
死神勇敢的灵魂国际版157.09MB蜜桃下载 -
影猫电影9.9MB蜜桃下载 -
梅露可物语愈术士与铃之旋律手游9.9MB蜜桃下载 -
仙凡幻想564.93MB蜜桃下载 -
可可影视TV9.9MB蜜桃下载 -
倩女幽魂之鬼寺繁体中文版 免安装绿色版9.9MB蜜桃下载 -
土豆兄弟官方正版264.53MB蜜桃下载
- 推荐蜜桃资讯
- 最新手机精选
-
奥特曼格斗进化0无限能量2025-03-21蜜桃下载 | 253.6MB -
超凡先锋国际服2025-04-03蜜桃下载 | 96.46MB -
qq轻聊版官方2025最新版(qqlite)2025-03-20蜜桃下载 | 9.9MB -
异星之地2025-02-27蜜桃下载 | 405.6MB -
进化吧皮卡丘小米游戏2025-04-03蜜桃下载 | 76.59M -
inZOI韩国版模拟人生2025-04-03蜜桃下载 | 10.10M



































