苹果专利革新红外手势追踪:低能耗高精度,低光环境无压力
2025-03-08 16:27:33 小编:蜜桃手游网
本站 3 月 8 日消息,科技媒体 patentlyapple 昨日(3 月 7 日)发布博文,报道称苹果公司获批一项新专利,通过可调节的红外照明技术,进一步提升其设备的手势追踪功能。
该技术不仅适用于 iPhone、iPad、MacBook 等现有设备,还可能应用于未来的 Vision 系列设备及折叠设备。这一创新在降低能耗的同时,将显著改善在低光环境下的手势识别效果。
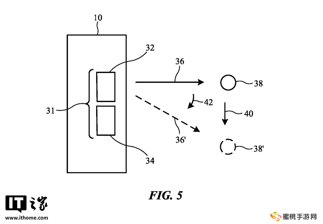
根据专利描述,在低光环境下,设备通过发射红外光辅助图像传感器捕捉用户手势,由于红外光对人眼不可见,避免了对周围环境的干扰。
专利称设备配备可调节照明系统,能够实时调整光束的角度和强度,精准聚焦目标物体(如用户的手部),从而减少对背景物体的照明,节省能源。



通过追踪用户的手部动作和手指手势,设备可将这些动作转化为输入指令,用于控制虚拟对象的移动、菜单选择等操作。
该专利可通过图像传感器捕捉用户图像,用于视频通话或眼动追踪,此外该专利也可以应用于头显设备中,手势追踪系统可实时捕捉用户手部动作,并在虚拟环境中呈现对应的虚拟手部,增强沉浸式体验。

- 猜你喜欢
-
橘子视频app去广告版9.9MB蜜桃下载 -
51糖心app9.9MB蜜桃下载 -
特狗影视app苹果版9.9MB蜜桃下载 -
河马剧场短剧9.9MB蜜桃下载 -
植物大战僵尸融合版下载最新版本260.27MB蜜桃下载 -
好好看9.9MB蜜桃下载 -
坚果云扫描app9.9MB蜜桃下载 -
地狱之窟游戏手机版9.9MB蜜桃下载 -
疯狂木偶人201.25MB蜜桃下载
- 相关手机游戏
-
追剧屋9.9MB蜜桃下载 -
极品飞车11街道争霸电脑版 免安装版9.9MB蜜桃下载 -
死神勇敢的灵魂国际版157.09MB蜜桃下载 -
影猫电影9.9MB蜜桃下载 -
梅露可物语愈术士与铃之旋律手游9.9MB蜜桃下载 -
仙凡幻想564.93MB蜜桃下载 -
可可影视TV9.9MB蜜桃下载 -
倩女幽魂之鬼寺繁体中文版 免安装绿色版9.9MB蜜桃下载 -
土豆兄弟官方正版264.53MB蜜桃下载
- 推荐蜜桃资讯
- 最新手机精选
-
奥特曼格斗进化0无限能量2025-03-21蜜桃下载 | 253.6MB -
超凡先锋国际服2025-04-03蜜桃下载 | 96.46MB -
qq轻聊版官方2025最新版(qqlite)2025-03-20蜜桃下载 | 9.9MB -
异星之地2025-02-27蜜桃下载 | 405.6MB -
进化吧皮卡丘小米游戏2025-04-03蜜桃下载 | 76.59M -
inZOI韩国版模拟人生2025-04-03蜜桃下载 | 10.10M



































